Аппарат для проведения лазерной терапии «УГХ-01Л ЭЛАТ.»

Изобретение относится к медицинской технике, а именно к устройствам для физиотерапевтического воздействия лазерным излучением. Данное лазерное терапевтическое устройство относится к устройствам управляемой генерации лазерного излучения медицинского назначения, использующим в качестве источников полупроводниковые лазеры, и предназначенным для терапии внутренних органов и кожных покровов.

Недостатком известного устройства является

- использование лазерных диодов, требующих для управления мощные внешние схемы накачки, что делает невозможным совмещение нескольких независимо управляемых каналов излучения в пределах одного малогабаритного ручного излучателя.

- недостаточно широкий частотный диапазон;

- малое число устанавливаемых значений частот следования импульсов излучения, обусловленное применение простейших схемных решений и не позволяющее производить эффективное лечение пораженных тканей с различной морфологией;

-запуск лазерной экспозиции с блока управления и отсутствие органа контроля включения экспозиции на излучателе, снижающие контроль за соблюдением требований лазерной безопасности.

-Не учтена обратная частотная зависимость импульсной мощности лазерного излучения при постоянном напряжении питания лазера, что может приводить к импульсным перегрузкам в области нижних частот и преждевременной деградации излучающего кристалла лазера.

Целью изобретения является повышение эффективности воздействия.

Указанная цель достигается тем, что лазерное терапевтическое устройство, включающее схему управления, генератор-формирователь импульсов запуска, стабилизированный источник напряжения и лазерный излучатель снабжается рядом дополнительных схем, а именно: рядом дополнительных генераторов-формирователей импульсов запуска и рядом полупроводниковых лазерных излучателей, рядом регуляторов напряжения питания излучателей; схемой дистанционного управления, выход которой подключен к пусковому входу источника напряжения, запоминающим блоком с множеством записанных кодов частот следования импульсов запуска, адресный вход которого соединен с выходом адреса кода частоты схемы управления, а информационный выход - с входом записи частоты каждого генератора-формирователя.

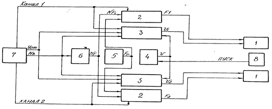
На рис. 6 представлена блок-схема двухканального лазерного терапевтического устройства УГХ-01Л ЭЛАТ.[7]

Устройство лазерное терапевтическое УГХ-01Л ЭЛАТ (см.рис. 6) содержит: два полупроводниковых лазерных излучателя 1, входы запуска которых соединены с выходами F1, F2 генераторов-формирователей 2 импульсов запуска, а входы питания - с выходами U1, U2 регуляторов 3 напряжения питания излучателей, два генератора-формирователя 2 импульсов запуска, входы записи частоты NF1, NF2 которых соединены с выходом запоминающего блока 6, тактовые входы - с выходом генератора 5 тактовых импульсов, а входы управления записью - с выходами выбора канала КАНАЛ 1, КАНАЛ 2 схемы управления 7.

Устройство также содержит два регулятора 3 напряжения питания излучателей, входы управления которых соединены с выходом установки УСТ, выходами КАНАЛ 1, КАНАЛ 2, выходом NA адреса кода частоты, схемы управления 7, а пусковые входы - с выходом U источника стабилизированного напряжения 4, запоминающий блок 6, вход которого соединен с выходом NA схемы управления 7, схему 8 дистанционного управления, выход которой подключен к пусковому входу источника 4.[7]

Рис.6

полупроводниковые лазерных излучателя 1, генераторы-формирователи 2 импульсов запуска, регуляторов напряжения питания излучателей 3, источника стабилизированного напряжения 4, генератор тактовых импульсов 5, запоминающего блока 6, схемы управления 7, схема дистанционного управления 8.

 
 
 
 

С чего начать путь к здоровым глазам и как достичь результатов? Главное - измените отношение к своим глазам, к себе, а потом и к самой проблеме плохого зрения.

Борьба с гипертонией является сложным и многогранным процессом, основными этапами которого являются первичная профилактика, раннее выявление и адекватное лечение.